• VENTILATION EQUIPMENT 0049 VENTILATION EQUIPMENT 0049
    HVG MARINE VENTILATION EQUIPMENT 0049

    HVG MARINE VENTILATION EQUIPMENT 0049: Bộ giảm chấn lửa phẳng

    Các ứng dụng :

    • Hình dạng của van điều tiết chữa cháy là phẳng và cấu trúc được làm bằng thân, trục, đĩa van., Vật liệu là thép không gỉ và có thể xoay theo yêu cầu của bạn, Loại van điều tiết chữa cháy này được ứng dụng rộng rãi trong hệ thống điều hòa không khí hoặc hệ thống thông gió cho hàng hải hoặc một nơi khác để tránh lửa hoặc somke.
    • Van điều tiết lửa có thể được điều khiển bằng nhiệt độ và nó có thể tự động đóng lại bằng điện. Van điều tiết lửa mở trong điều kiện bình thường, Nếu nhiệt độ của không khí trong ống van điều tiết vượt quá 70 ℃ , Liên kết dễ chảy của van điều tiết sẽ bị hỏng để đóng lửa van điều tiết.
    • Thời gian cho vật liệu chịu lửa là 1,5 giờ, Tín hiệu điện có thể được xuất ra theo yêu cầu của người dùng , Van điều tiết lửa phải được thiết lập lại bằng tay.

    Đặc tính:

    • 1. xây dựng bằng thép không gỉ để ngăn lửa và khói.
    • 2. thời gian cho vật liệu chịu lửa là 1,5 giờ.
    • 3.Hệ số trở lực nhỏ hơn 0,4.
    • 4. Van điều tiết sẽ tự động đóng khi nhiệt độ là 70 ℃.
    • 5.Chiều cao của cơ thể là 210mm.
    • 6. kích thước đặc biệt có thể được cung cấp.

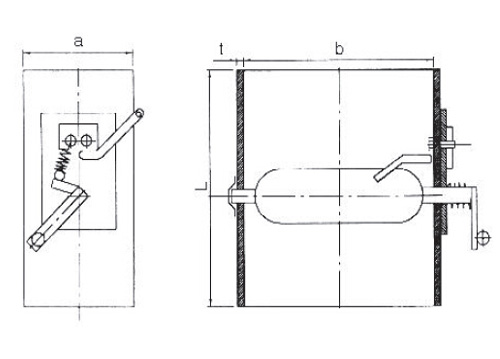
    Bản vẽ quy trình:

    Technical specification:

    • Available size:

    Nom.dia of.DN

    Internal dia, of duct

    Internal dia.DN

    Thickness
    t

    Height
    h

    a

    b

    125

    150

    90

    184

    5

    250

    160

    190

    115

    233

    5

    250

    175

    215

    125

    266

    5

    250

    200

    250

    140

    312

    5

    250

    230

    250

    150

    307

    5

    260

    240

    275

    150

    346

    5

    285

    345

    400

    200

    514

    5

    410

    370

    450

    200

    593

    6

    460

    430

    500

    250

    643

    6

    510

    485

    560

    300

    708

    6

    570

    545

    630

    350

    790

    6

    640